Apple, thru the stupidity of others, will once again lead the pack

*click HERE if you actually care to read that picture*

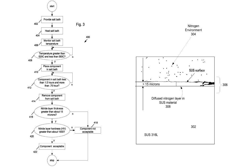
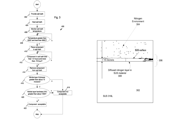
It’s pretty well-known that I am not an Apple fan. But if there’s one thing I wont take away from them is that they are starting to step away from their norm and actually live up to their price tag. My views really started to turn with the release of specs on the new macs, but the most recent is in the new *shudders* iPhone. If a new patent Apple filed can be trusted, the iPhone 5 could very well have a scratch-resistant coating to withstand any scratch you can throw at it (it has a Vickers hardness number of 1000….that’s the same as titanium). Plus the coating is super thin, so neither color nor texture is effected by it. This is the only thing I can say I praise Apple for, they aren’t shy to test new tech, especially when the outcome looks good. The sad part of the whole thing is that it’s less their initiative and more the lack of their competitors. I know of an even better substance(for screens) that could perfectly accompany this coating. See like a year or two ago there was a type of glass developed to help eliminate scratches, not prevent but fix. It had a little micro beads of a clear resin like substance that when put under specific heat would “melt” into any imperfection yielding a flawless surface once more. My point being im surprised I havent seen this implemented in something yet. All these techs lie in waiting for too long before they are applied to our goods, and thats one area where Apple shines. To many of their competitors are too afraid to go after big tech discoveries like this, they just don’t seem to see the big picture, and they should…if they want to survive.
[Geek]

This entry was written by CatastroFUCK and published on March 2, 2011 at 9:00 AM. It’s filed under Gear and tagged , , , , , , , . Bookmark the permalink. Follow any comments here with the RSS feed for this post.

Make a Comment